Spúšťač je napájaný z akumulátora, preto venujeme prvú pozornosť akumulátoru. Zmeráme hustomerom hustotu elektrolytu, skontrolujeme čistotu svoriek a ich pritiahnutie a hneď vidíme, či je príčinou poruchy akumulátor. Ak je akumulátor dobrý, bude porucha v spúšťači, túto však môže odstrániť len odborník. Môžeme, pravda, ešte skontrolovať dotiahnutie koncoviek vodičov a stav vodičov. Takéto poruchy sa dajú odstrániť jednoducho.
Na vine môže byť aj spínacia skrinka zapaľovania. Na jej zadnej strane sú kontakty, na ktoré sa nasadzujú koncovky vodičov. Stáva sa, že koncovka sa uvoľní a odpadne, čím sa preruší okruh, preto je treba skontrolovať, či sú všetky koncovky vodičov na mieste. Koncovky môžu byť aj zoxidované, vtedy strácajú vodivé spojenie.
Aby sme sa dostali k spínacej skrinke, musíme demontovať vrchnú i spodnú časť krytu hriadeľa riadenia. Kvôli oprave opálených alebo zoxidovaných kontaktov nemusíme spínaciu skrinku demontovať. Platnička s kontaktmi je pridržiavaná v telese spínacej skrinky pružným prstencom, ktorý ľahko vyberieme ostrým skrutkovačom. Ak vyberieme prstenec, môžeme vybrať aj platničku s kontaktmi. Ak nie sú kontakty veľmi opotrebované, môžeme poruchu odstrániť ich vyčistením. Ak sú kontakty veľmi opotrebované, vymeníme celú platničku alebo, ak nemáme náhradnú, aj celú spínaciu skrinku zapaľovania.
Ak chceme demontovať aj spínaciu skrinku, treba odskrutkovať dve skrutky, ktoré držia zámok v puzdre, potom otočiť kľúč v zámku do vodorovnej polohy a zatlačiť cez otvor v puzdre pružnú platničku zámky, ktorá uvolní zámku od zamykacieho zariadenia volantu. Pri montáži robíme všetky úkony opačným postupom.
Ak sa nám na ceste odlomil jeden z kontaktov na spínacej skrinke, môžeme vodič nastrčiť na ktorýkoľvek iný voľný kontakt a spínacia skrinka bude opäť fungovať.
Toto sa môže stať v troch prípadoch:
1. O stave benzínu v nádrži nás má informovať palivomer, hoci aj s ním môžeme zažiť nepríjemnosti. V krajnom prípade môžeme vsunúť do nádrže cez nalievacie hrdlo čistú paličku. Ak nie je upchaté palivové potrubie od nádrže k palivovému čerpadlu, môžeme zistiť prítomnosť benzínu v hadičke, ak ju snímeme z nátrubka. Predpokladajme, že tam palivo je. Teraz je na rade palivové čerpadlo (obr. 36). Snímte hadičku, ktorá ide len ku karburátoru a ručnou páčkou urobte niekoľko zdvihov. Okamžite zistíte, že je čerpadlo v poriadku. Je tu ale jeden háčik: mechanizmus ručného dočerpávania nebude fungovať, ak bude tyčka, ovládajúca zdvih membrány 11, na vrchole vačky lll a membrána čerpadla v dolnom úvrati. V takomto prípade treba pootočiť kľukový hriadeľ spúšťacou kľukou o jednu otáčku vačka sa pootočí o pol otáčky a mechanizmus ručného dočerpávania paliva
|
|
a - čerpadlo, b - poloha tyčky čerpadla |
Palivové čerpadlo (pozri obr. 36) je treba pozorne obhliadnuť, najmä tesnosť spoja veka 4 a telesa čerpadla 3. Nerovná dosadacia plocha veka, uvolnená doťahovacia skrutka, zle nasadený nylonový sitkový čistič (ktorý je súčasne aj tesnením) zapríčiňujú únik benzínu. Benzín obyčajne uniká cez deliacu rovinu medzi telesom a spodným vekom čerpadla. Ak máme vážne podozrenie, že je porucha vo vnútornom mechanizme čerpadla, treba ho demontovať. rozobrať a opraviť.
Demontáž palivového čerpadla je jednoduchá. Najprv odpojíme prívodné a odvodné hadičky, nesmieme zabudnúť zaslepiť hadičku, ktorou priteká benzín z nádrže. Palivové čerpadlo je pripevnené k bloku valcov dvoma závrtnými skrutkami a maticami 13 mm. Ak odskrutkujeme tieto matice a snímeme pružné podložky, môžeme oddeliť čerpadlo od bloku. Medzi blokom valcov a palivovým čerpadlom sú tri tesnenia, dve tenké sú papierové a medzi nimi je tepelnoizolačná vložka. Pri demontáži musíme dať pozor, aby sa papierové tesnenia nepoškodili. Pred rozobraním palivové čerpadlo dôkladne umyjeme v technickom benzíne. Čerpadlo pozostáva z horného a dolného veka a z telesa. Najprv snímeme horné veko uvolnením a vyskrutkovaním skrutky 5 kľúčom 8 mm. Veko chráni spoľahlivo sitkový čistič 2, ktorý zachytáva nečistoty a neprepúšťa ich k nasávaciemu ventilu b. Teleso palivového čerpadla je spojené s dolným vekom šiestimi skrutkami 7. Kým ich uvolníme, je účelné označiť si ryskou na povrchu vzájomnú polohu telesa i veka. Toto nám uľahčí spätnú montáž a zabezpečí tesnosť spoja. Ak prevrátime teleso, uvidíme aj výtlačný ventil. Stáva sa, že sa ventily palivového čerpadla prilepujú, znečisťujú sa a stráca pohyblivosť. Toto je nepríjemné, lebo oba ventily sú zalisované do telesa čerpadla a v domácich podmienkach sa nedajú rozobrať. Pohyblivosť ventilov môžeme skontrolovať. Ak prefukujeme výtlačný nátrubok stlačeným vzduchom (pomocou hustilky), nie je zložité zistiť správanie sa výtlačného ventilu. Ak je správny, má sa pritlačiť na sedlo a neprepúšťať vzduch. Stav nasávacieho ventilu kontrolujeme analogicky, ak prefukujeme nasávací nátrubok. Ak niektorý z ventilov prestal fungovať (prilepil sa), môžeme sa pokúsiť ním opatrne pohnúť zaostrenou zápalkou a zistiť, či ho pružina dotláča do sedla tak, aby tesnil. Stáva sa, že je potrebné pre poruchu ventilov zameniť teleso čerpadla alebo celé palivové čerpadlo. Pootočíme membránovú ojnicu o 90° a oddelíme membránu spolu s dvoma dištančnými podložkami od dolného veka čerpadla. Aj zoslabnutie pružiny 9 membrány 8 môže byť príčinou poruchy čerpadla. Takáto porucha je zriedkavá, ale ak vás zastihne na ceste, môžeme si dočasne pomôcť tým, že ju napružíme roztiahnutím. Dĺžka uvoľnenej pružiny má byť 47 mm. Ak je porucha čerpadla zavinená membránou a nie je nablízku servisná stanica, nestrácajte hlavu a vyrobte si náhradnú membránu z polyetylénovej fólie a stiahnite ju medzi vrstvy originálnej membrány. Poslúži Vám niekoľko III~!II''I stoviek kilometrov.
"~ Pri spätnej montáži opraveného palivového čerpadla musíme dodrial Illil'Í veľkosť odporúčaného zdvihu ovládacej tyčky. Najprv dáme tesnenie B (pozri obr. 3~ hrúbky 0,70 až 0,80 mm, potom tepelnoizolačnú vložku a naň tesnenie A hrúbky 0,27 až 0,33 mm. Pri takýchto tesneniach med~ íl liu. blokom valcov a palivovým čerpadlom má ovládacia tyčka zdvihu membrány vyčnievať v minimálnej polohe (jej vnútorné čelo sa pritom dotýka zadnej strany vačky) 0,8 až 1,3 mm (rozmer d). Ak je dmenšie ako 0,8 mm, meníme tesnenie B za tesnenie A (tenšie). Ak je d väčšie ako 1,3 tnro, použijeme ešte jedno tesnenie B hrúbky 1,2 až 1,3 mm. Ešte raz skontrolujeme rozmer d a priskrutkujeme čerpadlo. Treba dbať o to, aby medzi čerpadlom a tepelnoizolačnou vložkou bolo vždy tesnenie A. Niektoré palivové čerpadlá pracujú veľmi dobre do prvej demontáže a potom začínajú byt nespoľahlivé. Príčinou tohto býva nedostatočná tesnosť medzi telesom čerpadla a dolným vekom. V takomto prípade priložíme obe plochy k sebe (bez membrány), pozeráme na svetle, kým sa povrchy nedotýkajú a zabrúsime ich. le to ľahké, lebo teleso i kr t sú I zhotovené z ľahko opracovateľnej zliatiny.
2. Ak je palivový systém v poriadku, môže byt príčinou poruchy zapaľovanie. Pre doteraz neznámu príčinu zapaľovanie nie je schopné vytvoriť iskru, ktorá by mohla zapáliť v spaľovacom priestore stlačenú zmes. Zapaľovanie pozostáva z dvoch okruhov - nízkeho a vysokého napätia.
Okruh nízkeho napätia tvoria: akumulátor, spínacia skrinka. primárne vinutie zapaľovacej cievky, kondenzátor a kontakty prerušovača. Okruh vysokého napätia pozostáva zo: sekundárneho vinutia zapaľovacej cievky, ~entrálneho vysokonapätového kábla, uhlíka vo veku rozdeľovača, ramienka rozdeľovača, vysokonapäťových káblov a zapaľovacích sviečok. V prípade, ktorý vyšetrujeme, sa motor spúšťačom pretáča, z čoho vyplýva. že je akumulátor v poriadku. Overíme, či je iskra medzi vysokonapäťovým káblom a kostrou. Snímeme jeden kábel zo zapaľovacej sviečky. uvolníme jeho koniec (koncovku pretiahneme vyššie) a pripevníme ho tak, aby medzera medzi koncom kábla a kostrou nebola väčšia, ako 5 mm. Teraz pretočíme motor spúšťačom alebo spúšťacou kľukou. Medzi telom kábla a kostrou má preskočiť iskra. Ak preskakuje iskra zo všetkých káblov (každý kábel skúšame zvlášť), na vine môžu byť len zapaľovacie sviečky. Ak nie je iskra na niektorom kábli, treba ho skontrolovať a ak je v poriadku, treba skontrolovať veko rozdeľovača. Ak nie je iskra na žiadnom kábli, vyberieme centrálny kábel a skúsime, či dáva iskru na kostru. Pri kontrole môžu nastať nasledovné varianty:
Ak je nízkonapäťový obvod v poriadku a pri rozpojení kontaktov prerušovača medzi nimi preskakuje iskra, porucha je v zapaľovacej cievke (v sekundárnom vinutí).
V prípade, že je niekde miesto úniku prúdu trhlinami v izolácii káblov, koncovkách zapaľovacích sviečok ap., nájdeme ho najľahšie v tme. Preskoky iskry sú vtedy veľmi dobre viditeľné.
Často sa stáva, že sa motor nedá spustiť aj pri správnom palivovom systéme pre chybu veka rozdeľovača alebo ramienka rozdeľovača. Hlavnýmí príčinami bývajú praskliny, veľké znečistenie alebo strata uhlíkovej elektródy. Poruchu odstránime zámenou chybných súčiastok za nové. Níekedy, ak sa porucha vyskytla na ceste a nemáme nové súčiastky, musíme sa pokúsiť veko rozdeľovača alebo ramienko rozdeľovača opraviť : nájdeme praskliny, začistíme ich a zalejeme lepidlom (Kanagon, Resolvan a pod.), ak ho náhodou máme so sebou.
Motoristi vyskúšali ešte jeden spôsob opravy ramienka rozdeľovača. Odskrutkujeme dve pripevňovanie skrutky a medzi elektricky vodivé ramienko rozdeľovača a odstredivý regulátor dáme v dvakrát preložené polyetylénové vrecúško. Po dotiahnutí skrutiek polyetylén obstrihneme a nasadíme veko rozdeľovača. Niektorí motoristi, aby znížili pravdepodobnosť prebitia elektrickej vodivosti ramienka rozdeľovača, natierajú jeho spodok niekoľkými vrstvami laku alebo epoxidovej živice. Ak stratíme uhlík, môžeme ho dočasne nahradiť uhlíkom zo suchého článku vreckovej baterky alebo vŕbovým kolíčkom (ale vlhkým).
Ako vidíte, najhúževnatejší a najvynaliezavejší si vedia pomôcť a dôjdu až do autoservisu. Nie vždy sa však podarí nájsť poruchu, ak kontrolujeme okruh krok za krokom.
Ak sa napríklad nijakým spôsobom nepodarí dosiahnuť iskru, skúsme hmatom, či zapaľovacia cievka nie je horúca. Ak je, je to symptóm medzizávitového skratu. Takúto cievku treba zameniť za novú. Je dobre, ak
|
|
a - autombil "Moskvič 412", b- automobil Lada 1200, 1 -doplnkový odpor. 2-veko, 3-jadro, 4-sekundárne vinutie, 5-primárne vinutie. 6-prstencový magnetický obvod, 7-izolátor |
Najprv má zmysel vyskúšať cievku bez napojenia svorky VK (obr. 37). ~oplnkový odpor t sa bude silne zohrievať, ale z toho si nič nerobte. Ak sa pri tomto zapojení nebude dať motor spustiť. treba pri spúšťaní motora spojiť svorky VK a VKB. Na automobiloch Moskvič a Volga sa tieto kontakty spájajú automaticky pri zapnutí spúšťača, takéto zariadenie však nie je na automobiloch Lada, preto treba na svorky napojiť vodiče, spojené na konci tlačidlom. ktoré má v pokoji rozpojené kontakty. Pri spúšťaní treba súčasne stlačiť tlačidlo, čím sa premostí predradený odpor a primárne vinutie dostane prúd s potrebným napätím i intenzitou. Len čo sa motor spustí. tlačidlo uvolníme.
Zostali nám ešte vysokonapäťové káble a zapaľovacie sviečky. Káble môžu byť príčinou poruchy, ak sú staré a popraskané alebo veľmi znečistené, najmä ich koncovky. Kontrolujte pravidelne ich stav a ak už káble svoje odpracovali, vymeňte ich.
Pri hľadaní príčin poruchy pre ktorú motor nespustí, nemôžeme vynechať ani kontakty prerušovača, kondenzátor a nastavenie predstihu zapaľovania. Tieto faktory vplývajú bezprostredne na tvorbu iskry. 3. Ešte jednou podstatnou príčinou, ktorá vplýva na spúšťanie motora, je poloha vzduchovej klapky spúšťacieho zariadenia karburátora pri prvých zápaloch v motore. Aby sme porozumeli, prečo je vzduchová klapka
|
|
Ovládanie spúšťacieho zariadenia (vzduchovej klapky) je v poriadku, ak sa jeho lanko s ťahadlom pohybuje ľahko a bez zadŕhania. Ak je ťahadlo úplne zatlačené, musí byť vzduchová klapka úplne otvorená a naopak. Funkciu ovládania môžeme ľahko skontrolovať, ak demontujeme veko čističa vzduchu a nazrieme do karburátora. Ak vezmeme do úvahy, že spúšťacie zariadenie využíva vzduchovú a škrtiacu klapku, musíme si zapamätať: Pri úplne vytiahnutom ťahadle spúšťacieho zariadenia má byt škrtiaca klapka prvého stupňa pootvorená o 2 až 4°. Studený motor má pri úplne vytiahnutom ťahadle otáčky kľukového hriadeľa 1800 až 2500 min-1. Nastavenie polohy vzduchovej klapky a teda aj voľnobežných otáčok studeného motora sa dá meniť ohnutím ťahadla 1 alebo zmenou polohy skrutky 3, ktorá je zakrytá záslepkou 4. Vyskrutkovaním skrutky 3 sa zoslabuje sila na membránu 2 a vzduchová klapka sa otvára o väčší uhol. Ak demontujeme čistič vzduchu a spustíme motor, môžeme skontrolovať výsledok nastavovania. Do medzery medzi hornou hranou spúšťacej klapky a kanálom karburátora musí vojsť kaliber vlastnej výroby alebo vrták s priemerom 6 až 8 mm. Stáva sa, že pootáčaním skrutky 3 sa nedá nič dosiahnuť. V takomto prípade musíme vyskrutkovať tri skrutky, demontovať veko telesa spúšťacieho zariadenia a nájsť príčinu.
Motor pracuje nerovnomerne alebo pri voľnobežných otáčkach sa zastavuje
Možné príčiny tejto poruchy môžu byť:
I. K poruchám systému zapaľovania, ktoré zapríčiňujú nepravidelný chod motora alebo jeho zastavenie môžeme zaradiť nasledovné :
2. Nesprávne vôle medzi vahadlami a vačkami vačkového hriadeľa veľmi vplývajú na poruchovosť motora. Ak sú vôle príliš veľké, nastáva zvýšené opotrebovanie súčiastok, ktoré sa navzájom dotýkajú. Ak sú vôle veľmi malé, ventily nedosadajú na sedlá a prejavuje sa to napr. strieľaním do výfuku alebo do karburátora ako keby bol nesprávne nastavený predstih zapaľovania. Malé vôle (menej ako 0,15 mm) môžu spôsobiť veľa ťažkostí, lebo môžu zapríčiniť mechanické poškodenie ventilov alebo deformáciu ich driekov.
3. Jedným z najpravdepodobnejších vinníkov nepravidelného chodu motora je karburátor. Všetky početné súčiastky, mechanizmy a systémy môžu prispieť hoci aj malým podielom k tomu, aby chod motora bol nepravidelný. Ak sú znečistené dýzy alebo kanály karburátora, okamžite sa Porušuje včasné a presne dávkované množstvo paliva, vzduchu i zápalnej zmesi. Výsledkom je sťažené spúšťanie studeného motora, strata výkonu a nepravidelný chod najmä vo vyšších otáčkach. Ak sú znečistené dýzy systému behu naprázdno, hneď sa to prejaví, pri spúšťaní motora a pri voľnobehu.
Niekedy bývajú znečistené dýzy a kanály pevnými usadeninami, že na ne stlačený vzduch nestačí. Tu je treba takýto zásah. Milimetrové otvory dýz m~~me odmočit v acetóne, čistif zastrúhanými drevenými kolíčkami a potom premyť v technickom benzíne. Na to treba trpezlivosť a dôkladnosť. Toto musíme urobiť, ak niet iného východiska. Väčšina dýz sa dá vyskrutkovať a zameniť za nové, tým viac, že možno kúpiť v obchode celé súpravy na opravu karburátorov, kde sú aj dýzy. Ak máme nové dýzy, musíme dať veľký pozor, aby sme namontovali práve tú dýzu, ktorá je potrebná. Dýzy I. a II. stupňa majú kalibrované otvory, ich veľkosť je uvedená v tab. 4. Na telesách dýz i rozprašovačov sú čísla, ktoré udávajú priemer otvoru v stotinách milimetra. Tak číslo 150 znamená, že priemer otvoru dýzy je 1,5 mm. Na telese rozprašovača je tiež označenie, ktoré zodpovedá špecifickému priemeru prierezu kanála, cez ktorý prechádza zmes z hlavného dávkovacieho systému.
Voda v karburátore sa prejavuje tak isto, ako keby boli znečistené dýzy. Voda je zvlášť nepríjemná v zime. Nezávisle od ročného obdobia treba vodu odstrániť nielen z karburátora, ale aj z palivovej nádrže. Aby sme z karburátora odstránili vodu, musíme ho demontovať a dobre prefúkať stlačeným vzduchom. Palivovú nádrž nemusíme vyberať z automobilu, lebo voda je ťažšia ako benzín a vždy sa nachádza na dne nádrže.
Ešte jednou príčinou nepravidelného voľnobehu môže byť nasávanie "falošného" vzduchu cez také spoje, ako je spoj karburátora s nasávacím potrubím, spoj hlavy valcov a nasávacieho potrubia, alebo cez netesnosť hadičky, ktorá je pripojená na podtlakový posilňovač bŕzd (Lada I500, Lada 1300 - VAZ 2105, Lada 1h00, Niva 1600). Táto porucha môže vzniknúť len v dvoch prípadoch: buď je uvolnený spoj súčiastok alebo deformované tesnenie (hadica). Najprv treba dotiahnuť skrutky, matice a spony uvedených spojov. Ak to nepomôže, treba vymeniť tesnenie alebo hadicu podľa toho, kade sa nasáva "falošný" vzduch.
Príčiny nepravidelného behu naprázdno môže často spôsobovať aj nepravidelný chod motora pri vysokých otáčkach. Znečistenie palivového systému a dýz, voda v karburátore a poruchy zapaľovacieho systému ~ každá z týchto príčin je schopná znemožniť pravidelný chod motora v jeho ľubovoľnom režime. Preto schéma hľadania a odstránenia poruchy bude taká istá ako predošlá: palivové potrubie-palivové čerpadlo-karburátor - prerušovač - rozdeľovač - vysokonapäťové káble - zapaľovacie sviečky.
Keď sme sa zaoberali zapaľovacími sviečkami, spomenuli sme výr ,.tepelná hodnota zapaľovacej sviečky a "samozápaly". Ak z nepozornosť namontujeme iné zapaľovacie sviečky, aké odporúča výrobca, ktoré a~ nemajú potrebnú tepelnú hodnotu, uvedená porucha sa zaručene preukáže, Po zohriatí motora začne motor pracovať v sprievode kovových úderov, podobných detonáciám. Vodiči si často mýlia dva rôzne procesy ~ detonáciu a samozápaly. Samozápaly (vznetové zapaľovanie) vznikajú obyčajne pri zohriatom motore, keď sa stlačená zápalná zmes v zapaľovacom priestore zapaľuje následkom vysokej teploty a nie iskrou zapaľovania. Zápaly môžu byť spôsobené aj rozžeravenými elektródami alebo časticami karbónu. Samozápaly sa dajú zistiť ľahko. Vypneme zapaľovanie pri samozápaloch, motor bude ešte dlho pokračovať v chode. Prirodzene. bude treba chod motora zastaviť (môžete vypnúť spojku, zaradiť daktorý prevodový stupeň a pomaly púšťať spojku). Potom vyberieme zapaľovacie sviečky, presvedčíme sa, že sú skutočne nesprávne a naskrutkujeme nové. Stáva sa, že zapaľovacie sviečky sú dobré a napriek tomu motor pracuje pri vysokých otáčkach so všetkými príznakmi samozápalov. Toto sa stáva, ak sa vytvorí na povrchoch spaľovacieho priestoru a na dnách piestov väčšia vrstva nespáliteľných zvyškov paliva a oleja- karbón. Tvorba karbónuje výsledkom dlhotrvajúceho používania nízkooktánových benzínov a bohatej zmesi. Aby sa to nestávalo, treba používať len benzín Super 96 a dbať na správne nastavenie karburátora. A čo sa týka odstránenia karbónu budete sa musieť obrátiť na autoservis, pretože nie každý motorista si vie poradil s celým súborom odborných prác, ktoré sú na to potrebné. Bude treba demontovať hlavu bloku valcov, nastaviť vôle medzi vahadlami a ventilmi, nastaviť správny predstih zapaľovania, nastaviť správne napnutie refau (remeňa) pohonu vačkového hriadeľa a klinového remeňa ventilátora. Hoci každý z týchto vymenovaných úkonov vie urobiť takmer každý majiteľ automobilu, súbor týchto úkonov a potreba dodržať hodnoty uťahovacích momentov celého radu spojov si vyžaduje určitú zručnosť.
Ešte pred niekoľkými minútami automobil i motor boli v úplnom poriadku. Všetky systémy a mechanizmy motora fungovali bezchybne a plnili všetky príkazy vodiča. Krátka prestávka a motor je ako vyme~e~1' každé úsilie spustiť ho je márne. Máme dojem, že ešte niekoľko sekúnd a motor bude pracovať ako predtým plynulo a spoľahlivo. Napriek tomu sa nedá spustiť. Príčinou takejto poruchy býva odľahčovací ventil plavákovej komory Pn oriaraní škrtiacej klapky 7 (obr. 39) doraz páky 6 uvoľňuje páčku ~1, ktorá sa účinkom pružiny 5 pootáča a tyčkou nadvihuje odľahčovací ventil I a zatvára ho. Plaváková komora je odpojená od okolitého ovzdušia. Ak spúšťame horúci motor (škrtiace klapky sú zatvorené), vieme, že odľahčovací ventil je v dolnej polohe (ako je to na obrázku) a benzínové pary môžu unikať z plavákovej komory 3. Tým dosiahneme, že benzínové pary sa nemôžu nasávať do nasávacieho hrdla a nemôžu spôsobiť príliš bohatú zmes, pri ktorej sa horúci motor nedá spustiť.
|
|
Ak zastavíme automobil, zastavíme chod motora a odľahčovací ventil sa z nejakej príčiny nevráti do východiskovej polohy, bude veľmi ťažké znova spustiť motor. V takomto prípade treba demontovať veko karburátora (Pozri str. 90), vylisovať ventil (dá sa to ľahko) z telesa 2, a vyčistiť kanál, ventil i pružinu. Ak je pružina zlámaná alebo ventil opotrebovaný, zameníme ich.
Aby motor mohol ukázať všetko, čo dokáže, musia byť všetky jeho systémy i mechanizmy v úplnom poriadku. Najmenšia porucha hoci jedného z nich, marí možnosti a snahu všetkých ostatných. Preto sa musíme vrátiť k príčinám, ktoré sme už prebrali, a ktoré môžu zaviniť aj iné poruchy.
Ak hľadáme možnú príčinu nedostatočného výkonu a zlej akcelerácie, musíme znova skontrolovať: zapaľovací systém (rozdeľovač, prerušovač, vysokonapäťové káble, zapaľovacie sviečky); palivové čerpadlo, pretože jeho nepravidelná dodávka znemožňuje motoru dosiahnuť maximálne otáčky; palivo v nádrži (požadovať od motora maximálny výkon s nízkooktánovým palivom je nezmyselné); čistič vzduchu (zanesená a zaolejovaná čistiaca vložka kladie veľký odpor nasávanému vzduchu); karburátor, ktorý vo väčšine prípadov (na automobiloch po 1 až 3 rokoch prevádzky v dobrých podmienkach) býva vinníkom č. 1 (treba skontrolovať výšku hladiny paliva v plavákovej komore, ktorá vo väčšine prípadov býva príliš nízka) ; stav (čistotu) hlavných dýz, dodávku akceleračnej pumpy ; pracovnú teplotu motora.
Akceleračná pumpa (obr. 40) slúži na krátkotrvajúce obohatenie zmesi pri náhlom otvorení škrtiacej klapky, čo zlepšuje zrýchlenie automobilu. Páčka t má neobyčajný tvar, ktorý nie je výsledkom fantázie konštruktéra, ale presného výpočtu. Akceleračná pumpa musí dodať palivo do oboch stupňov karburátora. Toto je umožnené vďaka dômyselnému profilu páčky 1. Akceleračná pumpa vstrekne druhýkrát palivo v okamihu otvárania škrtiacej klapky druhého stupňa. Pri stlačení pedála akcelerátora páčka 2 akceleračnej pumpy pôsobí na odpruženú misku 4, membrány 5, ktorá prekonávajúc odpor pružiny 3 vytláča palivo z dutiny A do kanála I1 cez guľôčkový ventil - skrutku 9 do rozprašovačov 10 a 8 do difúzora prvého
|
|
Kontrolu akceleračnej pumpy začíname jej vonkajšou obhliadkou. Je dôležité presvedčiť sa, že spod veka pumpy nepresakuje benzín. Presakovanie benzínu by mohlo znamenať, že membrána je poškodená. Ďalej môžeme prekontrolovať práceschopnosť pumpy. Stačí zložiť veko čističa vzduchu a pootočit páčku 1, ktorá je tak komplikovane tvarovaná. Ak je vytekajúci prúd benzínu z rozprašovača 8 plynulý a neprerušovaný, je akceleračná pumpa v najlepšom poriadku. V opačnom prípade bude treba prefúknuť celý systém stlačeným vzduchom alebo ( ak je prefúknutie bezvýsledné) rozobrať ho a skontrolovať súčiastku po súčiastke, kým nenájdeme chybu. Pri kontrole venujeme osobitnú pozornosť páčke 1 i jej pružine. Naviac, musíme overiť, či kladka páčky 2 pri pohybe páčky I z nej nepadá.
Ak sme zabudli na karburátor a dlho sme do neho nepozerali, nie je vylúčená možnosť, že sa prestala pohybovať gutô8ka ventilu 6. Vytiahnuť guľôčku z dutiny je jemnomechanická práca, pomôžeme si ihlou a pinzetou. Guľôčku i sedlo umyjeme acetónom alebo technickým benzínom a vrátime späť.
Normálne pracujúca akceleračná pumpa má načerpať desiatimi plnými zdvihmi 5,25 až 8,75 cm' benzínu, pri type Lada 1300- VAZ 2105 2,5 až 4,5 cm'.
Tým, ktorí chcú premerať dodávku akceleračnej pumpy, pripomenieme, že pred meraním treba urobiť 10 skúšobných zdvihov (pootočení páčky), aby sa kanáliky akceleračnej pumpy zaplnili palivom.
Ak nepracuje motor v normálnom teplotnom režime (hovoríme o prípade keď sa prehrieva), nedosahuje maximálny výkon. Na automobiloch Lada so správnym chladiacim systémom sa má ručička teplomeru po zohriatí motora zastaviť v polovici stupnice (bez ohľadu na vonkajšiu teplotu alebo režim práce motora). Pri typoch s elektrickými ventilátormi prechádza ručička až do červenej oblasti, čo je v súlade s konštrukciou motora. Prehrievanie motora je vážna chyba, ktorá vedie k poruche motora. Ak sa prehrieva motor, treba vykonať rad úkonov:
Nie je vylúčené, že príčina prehrievania motora je mimo chladiaceho
Môže sa stať, že nezistíte ani jednu z uvedených príčin a motor nedáva plný výkon. Najpravdepodobnejšia bude porucha v motore: prepálenie alebo deformácia ventilov, prepálený piest, zlomené alebo nepružné piestové krúžky, veľké opotrebovanie valcov. Kde je konkrétne porucha, to Vám povedia po prehliadke v autoservise.
Klopanie kľukového hriadeľa má hluchý kovový zvuk. Jeho kmitočet sa ~ zvyšuje, ak zvyšujeme otáčky motora. Ak osová vôľa kľukového hriadeľa ~ ~ač"e prevyšuje dovolenú hodnotu, klopanie nadobudne ostrý zvuk s nepravidelnými prestávkami, ktoré sú zvlášť zreteľné pri plynulom ~vaní alebo znižovaní otáčok motora.
Hlavné príčiny klopania kľukového hriadeľa sú:
Je ešte celý rad príčin, ktoré môžu vyvolávať klopanie kľukového hriadeľa: nadmerná vôľa v hlavných ložiskách, nesúosovosť čapov kľukového hriadeľa, nadmerná osová vôľa kľukového hriadeľa, alebo uvolnené skrutky pripevňujúce zotrvačník ku kľukovému hriadeľu. Vo všetkých vymenovaných prípadoch treba rozobrať motor, preto takéto opravy odporúčame robiť v autoservise.
Klopanie ojnicových ložísk je obyčajne tvrdšie, ako klopanie hlavných ložísk. Je to počuť pri voľnobehu pri nezaradenom prevodovom stupni. Klopanie sa zosilňuje, ak zvyšujeme otáčky kľukového hriadeľa. Aby sme zistili, ktoré zo štyroch ložísk klope, treba ich postupne odľahčovať tým, že 117 snímeme zo zapaľovacej sviečky príslušného valca vysokonapäťový kábel. Príčiny klopania ojnicových ložísk sú veľmi podobné ako v predchádzajúcom prípade: nesprávny predstih zapaľovania, zlá kvalita oleja, veľké vôle v ojnicových ložiskách, kvalita alebo kužeľovitosť ojnicových čapov kľukového hriadeľa, nerovnobežnosť osí oboch ojnicových ložísk. Kedže bude potrebné rozobrať motor, musíme sa obrátiť na autoservis.
Klopanie piestových čapov je kovové a tvrdé. Mnohí vodiči si často mýlia toto klopanie s klopaním pri detonačnom spaľovaní, ich podstata je rôzna. Klopanie piestových čapov na rozdiel od detonačného klopania sa dá najlepšie počuť pri voľnobežných otáčkach kľukového hriadeľa. V dôsledku intenzívneho opotrebovania piestového čapu alebo oka ojnice sa zväčšujú vôle a zapríčiňujú klopanie.
Takáto porucha sa odstraňuje výmenou čapov alebo ojníc, v oboch prípadoch treba špeciálne zariadenie, zohrievaciu pec a veľké skúsenos6.
Ak automobil udržujeme pravidelne, k tejto poruche by nemalo dôjsť, lebo vôle ventilov by mali zostávať podľa predpisu. Hlavný zdroj klopania ventilov sú zväčšené vôle medzi vahadlami a vačkami vačkového hriadeľa. Nastavenie správnej vôle závisí od zodpovednosti pracovníka. Zanedbané maličkosti (opotrebovaný alebo zdeformovaný závit nastavovacej skrutky, nedostatočné dotiahnutie poistnej matice) stanú sa s určitosťou zdrojom nesprávnej vôle.
Niekedy zapríčiňujú klopania ventilov aj vážnejšie poruchy:
Aby sme zistili skutočný stav vačiek vačkového hriadeľa, stačí po nich prejsť bruškom prsta (pri nastavovaní vôle). Opotrebovanie sa dá zreteľne nahmatať. Potvrdením tejto poruchy sú ťažkosti pri nastavovaní vôle medzi vahadlami a vačkami. Vačkový hriadeľ s opotrebenými vačkami treba zameniť za nový spolu s vahadlami.
Opotrebovaný vačkový hriadeľ, pružiny alebo ložiskové teleso vačkového hriadeľa odporúčame zamieňať v autoservise, lebo pri montáži treba presne dodržať určité montážne hodnoty a okrem toho, po montáži nových súčiastok treba vykonať rad úkonov, ktoré už poznáme: vymeniť olej a čistič oleja, nastaviť napnutie reťaze, nastaviť správny predstih zapaľovania a vôle medzi vahadlami a vačkami vačkového hriadeľa.
Tým, ktorí chcú sami zameniť vačkový hriadeľ s vahadlami, alebo iné súčiastky rozvodového mechanizmu, pripomíname nasledovné: klzné povrchy vačkového hriadeľa musia byt dobre vyleštené a bez poškodenia (be2 stôp zadierania, rysiek, schodíkov a pod.). Ak ste po prehliadke vačkového hriadeľa dospeli k záveru, že môže ešte poslúžiť, overte si jeho radiálnu excentricitu. Urobíte to tak, že uložíte koncové ložiská vačkového hriadeľa na dva hranoly a zmeráte indikátorom excentricitu stredného ložiska, nesmie byt väčšia ako 0,02 mm. Vôľa v ložiskách vačkového hriadeľa nesmie byť väčšia ako 0,2 mm. Vnútorné povrchy ložísk ložiskového telesa vačkového hriadeľa musia byť také isté, ako povrchy ložísk vačkového hriadeľa, t. j. nesmú mat nijaké poškodenia, ani rysky. Pri montáži treba mhtadnit, že uťahovací moment matíc, ktoré pripevňujú ložiskové teleso vačkového hriadeľa, nesmie prevýšiť 22,6 N . m. Skrutku, ktorou je pripevnené reťazové ozubené koleso vačkového hriadeľa, musíme pred nasadením a utiahnutím natrieť tesniacim prípravkom.
I Ak sú všetky systémy a mechanizmy motora správne, za 10 000 km pokles stavu oleja v motore nebude väčší, ako po rysku minimálne dovolenej hladiny. Stručne povedané, ak je motor v poriadku, medzi dvoma výmenami netreba olej dolievať.
Zvýšená spotreba oleja môže byt výsledkom dvoch druhov porúch:
Aby sme mohli poruchu správne I °~"°ht, Pripomíname, že modrý dym, ktorý vychádza z výfuku býva, ak ~ do spaľovacieho priestoru dostáva olej, čierny dym hovorí, že motor spaľuje bohatú zmes a biely dym býva, ak sa do spaľovacieho priestoru dostáva chladiaca kvapalina. Pri takejto poruche treba venovať pozornosť zapaľovacím sviečkám, ktoré treba častejšie vyberať a dokonale čistiť. Ak máte podozrenie, že niektoré súčiastky kľukového mechanizmu ~; poškodené, musíte sa obrátiť na odborníkov v autoservise.
Ešte raz pripomíname, že chladiaci systém automobilov Lada je uzavretý a že chladiaca kvapalina sa nemôže strácať bez stôp. Výnimkou je malá čas( kvapaliny, ktorá sa predsa len odparí. Ak spozoruje(e zvýšený úbytok chladiacej kvapaliny, treba hľadať miesto jej úniku : či vyteká von alebo do spodného veka motora. Takáto porucha sa hľadá veľmi ťažko a zdĺhavo. Malé neviditeľné priesaky môžeme v jednotlivých miestach nahmatať, ak budeme prstom skúšať jednotlivé spoje hadíc s nátrubkami. Stručne povedané, treba pozorne prehliadnuť celý chladiaci systém. Najčastejšie uniká chladiaca kvapalina cez uvoľnené sťahovacie spony pripevnenia hadíc.
Stáva sa, že veľké úbytky chladiacej kvapaliny zapríčiňuje chladi8. Ak zistíte takúto poruchu na ceste, má zmysel pokúsiť sa ju odstrániť (dočasne do najbližšieho autoservisu) jednoduchými prostriedkami, napr. plastelínou, ak máte kúsok po ruke alebo mydlom (kúsok plastelíny v odkladacej skrinke môže vám na ceste preukázať dobrú službu).
Po príchode do autoservisu, kde opravia chladič, vypustíme zvyšok chladiacej kvapaliny do čistej nádoby z výpustných otvorov na spodu chladiča i bloku valcov, pričom otvoríme zátky nalievacích otvorov chladiča i expanznej nádržky. Matica zátky na spodnej nádrži chladiča je umiestnená na tenkej stene, preto ju pri uvoľňovaní zátky pridržiavame druhým kľúčom 17 mm, aby sa nevytrhla zo steny.
Chladič demontujeme nasledovným postupom: uvolníme sťahovaciu sponu prívodnej hadice a snímeme hadicu z nátrubku, to isté urobíme aj s odvádzacou hadicou; uvolníme stahovaciu sponu hadice expanznej nádržky a snímeme ju z nátrubku chladiča ; oddelíme hornú polovicu plášťa ventilátora od spodnej a od chladiča a vyberieme ich; odskrutkujeme matice, ktoré pripevňujú chladič ku karosérii a pozorne vyberieme chladič z motorového priestoru. Na automobiloch, ktoré majú elektrický ventilátor, musíme pred demontážou chladiča uvoľniť a vybrať elektrický ventilátor. Spätnú montáž urobíme obráteným postupom.
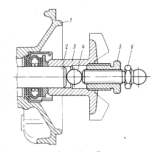
Zriedkakedy sa stáva, že chladiaca kvapalina (má lepšiu presiakavosť ako voda) si nachádza cestičku cez tesnenie čerpadla chladiacej kvapalin9
Ak zistíte toto. odporúčame obrátiť sa na autoservis, lebo na rozobratie čerpadla sú potrebné špeciálne sťahováky.
Opravu si môžeme urobiť aj sami, ak využijeme nápad motoristu z mesta D~amčire (obr. 41). Pozície Sa 6sú puzdro a nastavovacia skrutka, ktoré sú oporou vahadla ventilov. Do stredového otvoru obežného kolesa čerpadla chladiacej kvapaliny vložíme ložiskovú guľôčku 4 s priemerom 12 mm, potom do neho naskrutkujeme na doraz puzdro .S n do neho skrutku 6. ~bežné koleso takto ľahko stiahneme z hriadeľa 2, ktorý je umiestnený v telese 1.
|
|