Pri dobrom zaobchádzaní a včasnej údržbe zadná náprava bude spolah6- vo slúžiť po dlhý čas, v každom prípade najmenej 100 000 km a veľmi zriedka zapríčiní vodičovi starosti. Analýza malého počtu rôznych porúch zadnej nápravy ukazuje, že vo väčšine prípadov je vinníkom sám vodič. Zvýšená hlučnosť zadných kolies
Hlavnými príčinami tejto poruchy bývajú: uvolnené skrutky pripevnenia zadných kolies a opotrebované alebo poškodené ložiská polosi. Jazda s neutiahnutými kolesovými skrutkami je prinajmenej nedbalos- ťou a môže zapríčiniť veľké nepríjemnosti. Odstránenie poruchy nevyžadu- je veľa práce. Horšie je, ak je poškodené alebo opotrebované ložisko polosi, lebo v takomto prípade treba polos demontovať.
Ešte celkom nedávno sa málokto odhodlal samostatne demontovať polos.'1'ažkost spočívala v tom, že polos s ložiskom sú nalisované do nosnej rúry zadného mostu a bez určitej vynaliezavosti sa jednoducho nedali demontovať. V autoservisoch mali špeciálny úderový prípravok, pomocou ktorého bolo možné polos pomerne rýchlo vybrať. V súčasnosti je možné tento prípravok zakúpiť (v ZSSR) a demontáž polosi sa stala triviálnou. Vzhľadom na to, že stiahnutie z polosi a nalisovanie nového ložiska je veľmi prácne, v obchodoch možno kúpiť polos s nalisovaným ložiskom. Ak ste presne stanovili, že zdrojom hluku je určitá (pravá alebo ľavá) polos. zameníme ju na rampe alebo nad montážnou jamou nasledovnými postupom:
|
|
Bývajú prípady, že sa sťažujeme na polos, najprv na pravú, potom na ľavú. Už sme obidve zamenili za nové a hlučnosť aká bola, taká i zostala. Príčin môže byt niekoľko. Môžu byť prosté (zabudli sme do rozvodovky naliať olej), ale aj veľmi zložité, ktoré sa nedajú prekonať iba nadšením, Jednou z takých porúch je deformácia zadného mostu. Čo mohlo byt príčinou takejto poruchy? Obyčajne neopatrná jazda v teréne (alebo nerovnej vozovke). Ak je cesta s hlbokými dierami a nerovnosťami, väčšina týchto nadmerných namáhaní pripadá na zadný most. Je ešte dobre, ak je rýchlosť jazdy malá a tlmiče pruženia sú v poriadku. V takýchto podmienkach tlmiče veľmi pomáhajú zadnému mostu, ak však aj ony potrebujú opravu, všetka námaha pripadá na pružiny a na zadný most. Pružina je na tom lepšie, lebo sa vie stlačiť. Zadný most sa môže iba deformovať. Sú známe prípady, že pri takej jazde sa prehli spolu so zadným mostom aj polosi. Usúďte sami, že pri takej jazde má zadný most právo sa ozývať. Ak je zadný most zohnutý, naznamená to, že ho musíme dať do zberu. V dobre vybavených autoservisoch, kde majú meraciu platňu, súpravu hranolov a uholníkov, presné meracie prístroje a vyrovnávací lis, vám môžu chybu opraviť. Hluk približne takého istého tónu vydáva zadný most v prípade, keď sú opotrebované drážkové spojenia ozubených kolies polosí.
Hluk, vznikajúci pri rozbehu a brzdení motorom svedčí o tom, že sa zväčšili dovolené vôle v ozubení medzi ozubenými kolesami hlavného pohonu alebo v ložiskách hriadeľa pastorka. Častejšie býva zvýšený hluk zapríčinený zväčšenými vôľami v ložiskách. Vôľa sa zväčšuje ak sa ložisko opotrebúva alebo ak sa uvolní utiahnutie matice pripevnenia príruby na hriadeľ pastorka. Treba si pamätať, že stav ložiska pastorka je priamo závislý od veľkosti momentu utiahnutia matice. Maticu treba uťahovať špeciálnym momentovým kľúčom v autoservise.
Aby bolo možné určiť presnejšie charakter a zdroj hluku. odporúčame uskutočniť rad skúšok:
Hluky, ktoré vznikajú pri zatáčaní automobilu spravidla pochádzajú z diferenciálu. Chybný diferenciál je hlučný aj pri jazde na nerovnej vozovke, pri prudkom stlačení pedálu akcelerátora za jazdy zotrvačnosťou. Aby sme si overili predpoklad, môžeme použiť starý spôsob:
Tradičná porucha - únik oleja, sa nevyhýba ani zadnej náprave. Uvolnené skrutky pripevnenia skrine k priečnemu nosníku, opotrebovanie, alebo poškodenie tesniacich krúžkov hriadeľa pastorka alebo polosí - to sú miesta možného úniku oleja.
Najjednoduchšie sa opravuje únik oleja zo spoja skrine s priečnym nosníkom. Skrutky treba utiahnuť. Tým, ktorí chcú túto prácu urobiť odtwrne, t. j. momentovým kľúčom pripomíname, že skrutky pripevnenia skrine uťahujeme momentom 23,5 N.m.
Ak sa kvapky oleja objavujú v oblasti príruby polosi, treba zameniť tesniaci krúžok. Ak vieme, ako sa demontuje polos (pozri predchádzajúci text), výmena tesniaceho krúžku je ľahká, lebo je umiestnený v prírube nosnej rúry. Únik oleja tesnením pastorkového hriadeľa je nepríjemný preto, lebo bude potrebné sa obrátiť s touto poruchou na autoservis. V predchádzajúcom texte sme uviedli, že ložisko pastorku sa musí veľmi presne nastaviť a ak nemáte momentový kľúč a patričné skúsenosti, zverte túto prácu odborníkovi. Nie sú vzácne prípady, že kvôli halierovému tesniacemu krúžku treba zamieňať oveľa drahšie súčiastky.
Najväčšiu zodpovednosť za život vodiča a spolucestujúcich hneď po brzdách majú nápravy. Akákoľvek porucha v nápravách pri jazde automobila môže byť zdrojom vážnych ťažkostí. Okrem toho je dokázané, že poruchy náprav, kolies a pneumatík môžu zvýšiť prevádzkové náklady 20 až 30 °/a. Ako výsledok deformácií a opotrebovania rôznych súčiastok pri prevádzke automobil môže ťahať doprava alebo doľava, môže dôjsť k intenzívnejšiemu opotrebovaniu pneumatík a nápravy začínajú klopať.
V súvislosti s tým, že nápravy pozostávajú z veľkého množstva súčiastok, môže byť aj široká paleta príčin rôznych hlukov a klopania. Aby sme sa mohli v tomto množstve porúch vyznať, vyberieme najznámejšie:
Aby sme skontrolovali stav tlmičov, musíme predovšetkým overiť, či z nich nevyteká kvapalina. Tlmič, ktorý tečie, je zbytočné ďalej kontrolovať, treba ho opraviť alebo zameniť. Ak ste nezistili vytekanie kvapaliny, pokračujte v kontrole na rampe alebo nad montážnou jamou. Uvolnite spodnú časť tlmiča, roztiahnite ho a potom stlačte. Chybný tlmič sa bude rozťahovať so zadrhovaním a na niektorých úsekoch svojho zdvihu bude mat len slabý odpor. Na roztiahnutie chybného tlmiča budeme potrebovať najmenej päťnásobnú silu, ako na stlačenie.
Na demontáž tlmiča stačia kombinované kliešte a kľúč 14 mm. Otvorte kapotu, nájdite horný koniec tlmiča a odskrutkujte maticu, pridŕžajúc kombinačnými kliešťami piestovú tyčku, aby sa neotáčala. Spusťte sa pod automobil (pod rampu alebo do montážnej jamy), uvolnite matice pripevnenia spodnej konzoly tlmiča, vyberte čap a vytiahnite tlmič otvorom v spodnom závesnom ramene.
I Na automobily Lada sa montujú sovietske tlmiče i tlmiče zahraničnej výroby (PLR, SFRJ, Japonsko). Nie všetky tlmiče, ktoré sa montujú na automobily Lada je možné rozobrať a opraviť. Sú aj nerozoberateľné konštrukcie (Japonsko). Len niektorí motoristi sa odvážia opravovať ' rozoberateľné tlmiče samostatne. No keďže takíto majstri predsa len sú a niektorí sa ešte rozhodujú, uvedieme postup rozoberania tlmičov, príčiny porúch a spôsoby ich odstránenia.
Pred rozobraním tlmič očistíme od hrubých nečistôt, umyjeme a vyutierame do sucha. Pre demontáž budeme potrebovať: zverák s ochrannými I plieškami na čeľustiach, ktorý nepoškodí teleso alebo spodné oko tlmiča a špeciálne kľúče pričom predpokladáme, že ten, kto sa rozhodol rozobrať tlmič, vyrieši samostatne a otázku š ciáln ch kľúčov. Tlmič pripevníme
|
|
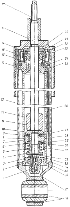
1 -pružina výtlačného ventilu. 2-puzdro výtlačného ventilu. 3-tenierik Preputf:meho a tlmiettM ventilv. d ~ Aatita mntilo. ,f-prubna vemilu. o-tankr venhlu. 7~ntvor vPicxh. R-piainvý kruíot. 9-tanierpreWifaaichovc~ 10-vskrufuk obmedzui~ci cbaA venam. n ~ aAra.nlk. n1 ~ valec. nT- v"okaisi valec. la-kaPilsrnr W°r,r. 15-to- moraPrePddtaniavzduebovýchbublín.ló~hlat~ m.:i":wnkai4,n~,,.Ia.lB~piexloványC.l9~koniecPintbC. 10-ahranbýkrúfokpiulnia,ll-nesnen:aknJku.:: -ohj:mkniesmamMtrí5iu,23-tesniacikrútokPKxr^~=d -neaniaai tWoA n,nkailieM vaka. zs-vral:,:,c Pe,~:.. pi smicc. z6-rurw Pra odvddvnie vzdmho r bobhaick n- PrWina PrepúHa,: I:, ,.ntilu. IB-otror v ~u..ic proPns(adebo ventilu. 29~ dtrtiaci kotúl.30-koNt PrcptiMa~° ventilu, 31 -piesL 32- malica ventilv. 33 ~ pružina ventilu. ~-tankrit-0oru preqíNadeM ventilu. 35-~ oapdltaoieh::..ventilu. 3fi~ mlocu výtIMnEho ventilu. 37-oko tlmita.38-gumotovovf Pa~ro |
Niektoré súčiastky tlmiča musia spĺňať určité požiadavky:
Po oboznámení sa s tlmičom ľahšie pochopíte príčinu tej alebo onej pomchy a budete vedieť, čo je treba urobiť.
Hlavné príčiny vytekania kvapaliny z tlmičov:
Piestovú tyčku treba vymeniť spolu s tesniacim krúžkom a kvapalinou. Tlmiče plníme kvapalinou MGP-10 (TU 38-1-2R7-69) alebo tlmičovým ~I°lom; do predného tlmiča nalejeme 120 cm3 a do zadného 215 cm3; ~ uvolnená matica 1 7 vonkajšieho valca. Maticu utiahneme.
Ak má tlmič pri kontrole malý odpor, bude treba hľadať chybu medzi nasledovnými: výpustný alebo prepúšťací ventil netesní; prstenec X je zlomený alebo vtlačený do drážky piesta ; nedostatočná kvapalinová náplfi; stopy po zadieraní na pieste alebo valci; znečistenie kvapaliny. Ak začína tlmič klopať a toto klopanie nie je zapríčinené opotrebovaním gumových puzdier v okách tlmiča alebo slabým utiahnutím jeho upevňovacích matíc, bude asi deformovaný plášť tlmiča I6, uvolnená matica 17, zohnutá piestová tyč I S alebo deformovaný valec 12.
Za normálnych podmienok sa pneumatika ojazdí po 35 000 až 40 000 km. Niekedy vydrží i viacej, aj také prípady nie je možné vylúčiť. V poslednom čase sa objavili nové druhy pneumatík (s oceľovým náraznikom, radiálne), ktoré vydržia oveľa viac. Všetko závisí od kvality gumy. spôsobu jazdy (intenzite brzdenia, rozjazdu, prejazdu zákrutami a iné). stavu súčiastok a častí prednej nápravy a tlaku v pneumatikách. Hlavné príčiny zvýšeného opotrebúvania pneumatík sú: rýchla jazda v zákrutách, nedodržanie periodickej zámeny kolies podľa schémy; nízky tlak vzducho v pneumatikách; nevhodne nastavená geometria predných kolies; vetká vyváženosť kolies. Z uvedeného prehľadu je vidieť, že táto porucha vtttiká, ak nevenujeme kolesám potrebnú starostlivosť a zanedbávame odporúčania výrobcu.
Vznik tejto poruchy by mal vodiča znepokojiť, lebo sa zhoršuje riaditelnosť automobilu, na riadenie je potrebná väčšia sila a toto všetko vplýva na bezpečnosť jazdy.
Čo spôsobuje, že automobil "ťahá" nabok? Príčin môže byť niekoľko. Najčastejšie príčiny bývajú: rôzny tlak v ľavej a pravej pneumatike; nesprávne nastavené uhly predných kolies; deformácia (následkom nárazu) pák nápravy; neúplné odbrzdenie jedného z kolies; zoslabnutie jednej z pružín prednej nápravy; posun zadnej nápravy vzhľadom na os automobilu ako dôsledok deformácie ramien alebo tyčí zadnej nápravy.
Tlak vzduchu v pneumatikách kontrolujeme; až po vychladnutí na teplotu okolia a súčasne zabezpečíme, aby bol rovnaký tlak v pravej i ľavej pneumatike.