Prevažná väčšina porúch elektrického príslušenstva vplýva na bezpečnosť jazdy. Tak výpadok prístrojov osvetlenia a signalizácie - elementov aktívnej bezpečnosti - vytvára nebezpečenstvo zrážky alebo nárazu, porucha nabíjania môže mať analogické následky. Preto by mal každý, k~ si sadne za volant automobilu vedieť odstrániť hlavné poruchy elektrického zariadenia.
Automobily Lada mávajú akumulátor sovietskej výroby 6-ST-55. Číslo 6 znamená, že akumulátor pozostáva zo šiestich článkov, písmena ST, že ide o spúšťací akumulátor a číslo 55 označuje nominálnu kapacitu akumulátora v Ah.
Keď si kúpite nový automobil, je jeho akumulátor pripravený k prevádzke, to znamená, že je v ňom naliaty elektrolyt a je nabitý. Ak budete kupovať nový akumulátor, bude suchý, bez elektrolytu, a všetky úkony si po jeho prácuschopnosť si budete musieť urobiť sám alebo zveriť ich urobenie servisu.
Keďže elektrolyt je vodný roztok kyseliny sírovej (elektrolyt pozostáva z chemicky čistej kyseliny sírovej s hustotou 1,84 g.cm~' a destilovanej vody), pri práci s ním treba prísne dodržiavať všetky bezpečnostné predpisy: pracovať v okuliaroch, v rukaviciach a so zásterou. Elektrolyt pripravujeme v špeciálnej kyselinovzdornej nádobe, pričom vždy musíme kyselinu liať do vody a nie naopak. Roztok pripravíme tak, aby jeho hustota bola 1,27 až 1,29 g.cr~ ' a teplota 1$ až 2$ °C. Pripravený roztok nalejeme lievikom do každého zo šiestich článkov cez nalievacie otvory, z ktorých odskrutkujeme zátky. Hotový elektrolyt možno v ZSSR kúpiť v niektorých drogériách.
Po naliatí elektrolytu do sucho nabitého akumulátora počkáme dve hodiny, aby sa mohli platne a separáty akumulátora nasýtiť kyselinou a potom môžeme zmerať hustotu elektrolytu a napätie na svorkách. Ak meraním zistíme, že sa hustota znížila (je to prirodzené, lebo elektrolyt a aktívna hmota platní na seba navzájom pôsobia) nie viacej ako 0 0,03 g. cm~' a napätie je väčšie ako 12 V, môžeme považovať akumulátor za správny a schopný prevádzky. Ak je napätie v rozmedzí 10 až 12 V, treba akumulátor dobiť. Pred upevnením akumulátora v automobile ešte r~ skontrolujeme hustotu elektrolytu, a ak je to treba, upravíme ju podl8 ' ~r,ny. Môže sa stať, že po dvojhodinovej prestávke sa zníži hustota elektrolytu o viacej, ako 0,03 g. cm ~'. Obyčajne napätie takéhoto akumulátora neprevyšuje 10 až 12 V. V takomto prípade treba akumulátor dobiť. Na dobitie akumulátora použijeme niektorú z nabíjačiek, ktoré sú v predaji.
Môžeme použiť ľubovolný typ, ktorý je schopný nabíjať akumulátor prúdom $ A pri počiatočnej teplote elektrolytu menšej ako 27 °C. Počas nabíjania kontrolujeme hustotu i teplotu elektrolytu. Najvyššia dovolená teplota je 40 °C. Akumulátor považujeme za nabitý, ak sa vo všetkých 9iestich článkoch hojne oddeľujú plyny (elektrolyt silne "varí") a hustota sa ustáli a nemení sa počas 2 až 3 hodín.
Sú situácie, keď treba aj suchý akumulátor nabíjať bezprostredne po naliatí elektrolytu. Toto je potrebné ak:
V československých podmienkach odporúčame zveriť uvedenie do prevádzky akumulátora odbornej dielni, čo je zároveň podrpienkou, aby výrobný závod alebo predajňa niesla garančnú zodpovednosť za akumulátor.
1. Akumulátor sa pri prevádzke automobilu vybíja. Ak sú všetky prístroje a vodiče elektrického príslušenstva v dobrom stave, akumulátor bude stále nabitý. V tom spočíva celý zmysel systému: Prúd, ktorý spotrebujú spotrebiče musí byť vyrobený zdrojmi. Akumulátor je súčasne zdrojom i spotrebičom, na jeho príklade sa zvlášť názorne dá demonštrovať tento nepretržitý reťazec.
Ak sa akumulátor počas prevádzky vybíja, znamená to, že v systéme je porušený súlad, že je niekde porucha. Touto poruchou môže byť: - chybný alternátor alebo regulátor jeho napätia.
Alternátor je jediný zdroj nabíjania akumulátora, preto porucha alternátora núti akumulátor napájať celé elektrické príslušenstvo zo svojich vlastných zdrojov.
Červená signálna lampa nabíjania akumulátora je výstrahou, že je na alternátore a jeho príslušenstve chyba. Aby sme sa presvedčili o správnosti, postupujeme nasledovne: povytiahnutím ťahadla ovládania spúšťacej klapky nastavíme otáčky kľukového hriadeľa motora približne na 1000 až 1500 min~' a odpojíme z akumulátora - kábel. Ak je chybe v obvodoch alternátora, motor sa okamžite zastaví. Ako najbežnejšie poruchy v obvodoch alternátora môžeme uviesť:
Ak máme podozrenie, že je chybný regulátor napätia (akumulátor sa prebíja), môžete ho skontrolovať bez demontáže nasledovným postupom:
Ak je regulátor napätia chybný, bude napätie väčšie ako 14,5 V. Ab5' smee si to overili, spojíme teleso regulátora s karosériou osobitným vodičom znova zmeráme napätie. Ak je aj potom napätie vyššie ako 14,5 V, treba regulátor opraviť alebo zameniť za nový. Stáva sa ale, že pri druhom meraní je napätie normálne. Svedčí to o tom, že teleso regulátora má zlý kontakt s kostrou.
Na automobile Lada 1300 - VAZ 2105 je nový alternátor G-222, ktorý má na zadnom veku pripevnený miniatúrny nerozoberateľný a nenastavitelný elektronický regulátor napätia typu Ja-112A. Aby sme takýto regulátor mohli skontrolovať bez demontáže alternátora, musíme mať I voltmeter so stupnicou od 15 do 30 V s presnosťou minimálne 0,5 %. Pred I kontrolou necháme motor pracovať asi 15 minút v stredných otáčkach, potom zapneme svetlomety a zmeráme napätie medzi svorkou Va kostrou alternátora. Napätie nesmie prevýšiť 14,6 V [pri teplote alternátora (25± 10) °C]. Ak je teplota alternátora vyššia alebo nižšia, korigujeme napätie alternátora v jednom alebo druhom smere o 0,2 až 0,3 V. Regulátor napätia musíme zameniť za nový, ak systematicky prebíja alebo nedobíja akumulátor. Hoci je nový regulátor napätia umiestnený na alternátore, pre jeho demontáž stačí vyskrutkovať 2 skrutky na zadnom veku alternátora a vybrať držiak uhlíkových kefiek spolu s regulátorom napätia a kondenzátorom.
Okrem uvedených porúch alternátora a regulátora napätia môže nastať aj prerušenie vodičov v okruhoch, skrat a iné. V takýchto prípadoch je účelné sa obrátiť na špecializovaný servis.
Pripojenie nových spotrebičov. Akumulátor sa môže vybíjať aj v prípade, keď je elektrické príslušenstvo automobilu v úplnom poriadku. Je to výnimočný prípad, ktorý vzniká, ak majiteľ pripája k elektrickému zariadeniu automobilu doplnkové spotrebiče, ktoré spolu s ostatnými spotrebičmi odoberajú viacej energie, ako môže alternátor do akumulátora dodať. V takomto prípade treba niektoré doplnkové spotrebiče odpojiť. Nadmerné znečistenie povrchu akumulátora alebo elektrolytu.
Pri nedbalom dolievaní elektrolytu alebo pri meraní hustoty sa dostáva elektrolyt na povrch akumulátora a spolu s prachom vytvára vrstvu nečistoty. Táto vrstva je príčinou intenzívneho samovybíjania akumulátora. Aby sa toto nestalo, odporúčame povrch akumulátora vytierať do sucha, Poprípade umyť handričkou, namočenou v 10 % roztoku čpavku alebo ~nnovanej sódy.
Analogický jav nastáva aj v prípade, že je znečistený elektrolyt v akumulátore. Znečistený elektrolyt treba zameniť za nový, ale túto zámenu môže urobiť len odborná dielňa, lebo ak prevrátime starší akumulátor, zdvihnú sa kaly, usadené na jeho dne a zapríčinia neopraviteľné škody.
2. Var elektrolytu. Niekedy sa stáva, že aj pri normálnej hladine elektrolytu sa zaleje povrch akumulátora elektrolytom, ktorý vystrekuje cez ventilačné otvory v zátkach. Takéto správanie sa elektrolytu býva reakciou na silný nabíjací prúd, na zvýšenú hustotu elektrolytu alebo na sulfatáciu platní akumulátora. Príčiny prebíjania akumulátora sme už prebrali, na vine sú obyčajne alternátor alebo regulátor napätia. Ak má elektrolyt v akumulátore príliš veľkú hustotu, počíname si nasledovne: odoberieme násoskou z každého článku časí elektrolytu a namiesto neho dolejeme destilovanú vodu. Výslednú hustotu nemôžeme merať hneď po doliatí destilovanej vody, ale až po 15 až 20 min, kým sa roztok dostatočne nepremieša.
Sulfatácia platní, t. j. vytvorenie veľkozrnného síranu olovnatého znehodnocuje a ničí akumulátor. Sulfatácia platní vzniká:
3. Kontrolná lampa pri zapnutí zapaľovania nesvieti. Vinutie relé kontrolnej lampy nabíjania akumulátora dostáva pri práci alternátora približne jeho polovičné napätie, t. j. b až 7 V. Keď je zapnuté zapaľovanie a motor a alternátor nepracujú, cez kontakty relé prechádza prúd z akumulátora s napätím asi 12 V a lampa by mala svietiť. Po spustení motora by mala zhasnúť. Ak kontrolná lampa nezhasne, je v alternátore porucha. Niekedy kontrolná lampa nesvieti, kedy by mala svietiť. Príčinami tejto poruchy môžu byť:
Prepálené vlákno žiarovky. Žiarovku treba zameniť za novú. Aby sme sa dostali k lampe, musíme vybrať združený prístroj z prístrojovej dosky, v ktorej je pridržiavaný dvoma pružnými príchytkami. Stačí tieto príchytky stlačiť a môžeme združený prístroj znútra vytlačiť. Odskrutkujeme dve skrutky pripevnenia poistkovej skrinky (pri typoch Lada 12()0· 1200 Combi, 1300); necháme skrinku visieť na vodičoch a cez vzniknutý otvor môžeme nahmatať a stlačiť príchytky a vytlačiť združený prístrol~ žiarovku, vrátime združený prístroj a poistkovú skrinku na je miesto. ~° aby sme mohli urobiť analogický úkon na automobiloch Lada 1500, t600, a Niva 1600, treba stlačiť príchytky 3 (obr. 51)tupým priebojníkom, ktorý zasunieme do špeciálnych otvorov v dolnej časti prístrojovej dosky l. aby sme si uľahčili prácu, môžeme rozpojiť konektory 5 prístrojov a odpojiť ohybný pohon rýchlomera 4. Lampy osvetlenia prístrojov a signalizačné lampy majú kolíčkovú pätku a vyberajú sa zo svojich držiakov spolu š objímkami.
Na automobile Lada 1300-VAZ 2105 sa vyberá prístrojová doska oveľa jednoduchšie. Skrutkovačom vyberieme záslepky dvoch pripevňovacích skrutiek prístrojovej dosky, ktoré sú umiestnené na okrajoch prístrojovej dosky medzi vypínačmi. Vyskrutkujeme skrutky a vyberieme prístrojovú dosku.
Nastavenie alebo výmena relé kontrolnej lampy. Obyčajne chybné relé zamieňame za nové, ale má aj zmysel pokúsiť sa opraviť ho očistením kontaktov. Aby sme to mohli urobiť, opatrne uvolníme zalisované úseky krytu a kryt stiahneme. Kontakty vyčistíme jemným pilníčkom a prefúkneme vzduchom. Nie je vylúčené, že to bude dostatočné na obnovenie normálnej funkcie relé.
Lampa prestáva svietiť. Vodič medzi svorkou 86 relé a svorkou 1 poistkovej skrinky alebo medzi vstupom alternátora 30 a svorkou 30/1 spínacej skrinky je prerušený. V týchto prípadoch pozorne prehliadneme vodiče a ak máme možnosť, obnovíme ich spojenie.
|
|
Spúšťač (obr. 52) sa uvádza do činnosti pootočením kľúča zapaľovania. Prúd z akumulátora prechádza cez kontakty 7a 8 do elektromagnetického spínača 5 spúšťača I, kde indukuje magnetické pole, ktorého účinkom kotva 3 elektromagnetického spínača sa vťahuje a otáča páku 2. Páka svojim dolným koncom zasúva pastorok spúšťača 9do ozubenia zotrvačníku motora. Potom kontaktový kotúč elektromagnetického spínača zapne hlavné kontakty spúšťača, prúd prechádza jeho vinutiami, kotva sa začne otáčať a súčasne otáča aj kľukový hriadeľ motora. Na pretočenie studeného motoru a pohnutie z miesta piestov a iných súčiastok motora v zime spúšťač potrebuje veľký prúd, preto nesmie čas zapnutia spúšťača trvať dlhšie ako 10 s. Opätovne môžeme spúšťač zapnúť až po 40 až 60 s, aby si medzitým akumulátor mohol "oddýchnuť".
Skúsenosti z prevádzky dokázali, že napriek ťažkým pracovným podmienkam spúšťač ST-221 spoľahlivo pracuje.
Ak spúšťač odmieta pracovať, má na to závažné dôvody, ktoré vo väčšine prípadov nezávisia od samotného spúšťača:
1. Pri zapnutí spúšťača sa jeho kotva neotáča, elektromagnetický spínač nefunguje. Takáto porucha môže mať nasledovné príčiny:
2. Pri zapnutí spúšťača sa jeho kotva neotáča alebo sa otáča pomaly, elektromagnetický spínač funguje. Najčastejšie vzniká takáto porucha, ak je chybný akumulátor alebo ak jeho svorky nemajú dobrý kontakt. Niekedy môžu byť zoxidované alebo zle utiahnuté vodiče na svorkách elektromagnetického spínača.
Medzi inými príčinami, ktoré spôsobujú neotáčanie sa alebo pomalé otáčanie kotvy spúšťača môžeme uviesť:
Spúšťač treba demontovať a opraviť. Túto prácu odporúčame zveriť odbomíkom, pretože demontáž spúšťača je veľmi prácna.
|
|
3. Po vypnutí spúšťača kľúčom v spínacej skrinke sa spúšťač nevypne. Porucha je v spínacej skrinke, kde sa nerozopnú kontakty 30 a 50. Ako sa dostať do spínacej skrinky, už viete. Poruchu odstránime vyčistením ~ kontaktov alebo zámenou kontaktovej platničky.
Stierač je umiestnený v motorovom priestore na ľavej strane automobilu a relé typu RS-514 pre prerušovaný cyklus stierača je umiestnené pod prístrojovou doskou a je pripevnené dvoma skrutkami ku karosérii.
1. Elektromotor stieračov nepracuje a poistka neprehorela:
a) Jednou z príčin môže byt poškodenie napájacieho vodiča elektromotora alebo oxidácia jeho koncoviek. Elektromotor stierača je napájaný akumulátorom (stierače pracujú aj keď motor nie je v chode). Spotrebič je napájaný zo zdroja blokom zo štyrmi konektorovými spojmi. Aby sme odstránili poruchu, musíme pozorne skontrolovať celé vedenie, konektorové spoje, očistiť koncovky a odstrániť prerušenie vedenia.
b) Chybný prepínač stierača. Prepínač sa obyčajne neopravuje ale zamieňa za nový. Tenkým skrutkovačom prepínač podoberieme a celý trojklávesový blok vyberieme z jeho uloženia, odpojíme vodiče a nasadíme nový prepínač.
c) Uhlíkové kefky elektromotora sa zadŕhajú, kolektor je zoxidovaný. Výrobca odporúča chybný elektromotor zameniť za nový. Z opravárskych úkonov dovoľuje len zámenu ozubených kolies prevodovky a očistenie kolektora. Niektorí motoristi zvládli aj zámenu uhlíkových kefiek. Aby sme mohli stierač opraviť, musíme ho vybrať z automobilu. Postup demontáže je nasledovný: demontujeme ramienka stierača so stieracími lištami; uvolníme a odkrútime matice hriadeľov pák a vyberieme puzdrá; odskrutkujeme matice pripevnenia konzoly elektromotora a vyberieme elektromotor spolu s pákovým mechanizmom; odpojíme pákový mechanizmus od elektromotora.
Pri automobiloch Lada sú stierače poháňané elektromotorom ME-241. Elektromotor je zmontovaný vcelku so závitovkovou prevodovkou. Aby sme mohli rozobrať elektromotor, musíme odskrutkovať dve skrutky pripevnenia veka a sňať veko spolu s panelom, odskrutkovať skrutky, ktoré pripevňujú teleso prevodovky k telesu elektromotora a rozpojiť ich. Potom môžeme vybrať kotvu. Po rozobraní prefúkneme elektromotor stlačeným vzduchom a venujeme sa kefkám a kolektorom. Kefky sa musia pohybovať voľne, bez zadŕhania, pružiny musia byť celistvé a pružné. Ak je kolektor zoxidovaný, treba ho vyčistiť jemným pilníkom a utrieť čistou handričkou, ľahko namazanou technickým tukom. Pri tom skontrolujeme, či nie sú stopy zadierania na čapoch hriadeľa kotvy. Ak sú, treba ich zbrúsiť jemným brúsnym papierom.
Elektromotor treba skladať opatrne, musíme včas odtiahnuť uhlíkové kefky od kolektora, aby sme ich nepolámali, pri vkladaní kotvy nesmieme zachytávať pólmi, aby sme ich nedeformovali. Po zložení elektromotora poklopeme jeho teleso dreveným kladivkom, aby sa vystredili ložiská.
Elektromotor stierača nefunguje, poistka sa vypaľuje. Toto sa stáva zvyčajne z dvoch príčin: ak je skrat vo vinutí kotvy elektromotora, v takom de treba elektromotor zameniť za nový; ak sú (z neopatrnosti) Ué páky mechanizmu, trú sa a zadŕhajú o karosériu, čo spôsobuje erný odpor. Páky treba demontovať, vyrovnať a porucha je odstránená.
3. Elektromotor stierača sa otáča, ale ramienka sa nepohybujú. Porucha vzniká, ak sa vylomia zuby v prevodovke alebo pri uvolnení pripevnenia kľuky na hriadeľ závitovkového kolesa prevodovky. Aby sme odstránili tieto poruchy, musíme čiastočne rozobrať elektromotor stierača. Stačí demontovať kryt prevodovky spolu s panelom. Aby sme mohli vybrať z8vitovkové koleso z prevodovky, musíme odskrutkovať pripevňovaniu maticu kľuky (tú istú maticu, ktorej uvolnenie spôsobuje, že sa ramienka stierača nepohybujú), uvoľniť pružnú podložku a vybrať zo skrine hriadeľ so závitovkovým kolesom a podložkami. Montáž vykonáme obráteným posatupom.
V systémoch vykurovania automobilov Lada sa používa elektromotor I~fE-255. Elektromotor 14 (obr. 53) otáča lopatkovým kolesom dúchadla l3 ktoré vháňa vzduch do radiátora vykurovania. Prepínač elektromotora ~ tr; polohy: vypnuté, malá rýchlosť otáčania dúchadla a veľká rýchlosť.
|
|
1 - klapka, 2 - plášť dúchadla, 3 - doplnkový odpor, 4 - plášť vrtule dúchadla, 5 - plášť radiátora, 6 - tesnenie, 7 - veko otvoru prívodu vzduchu, 8 - prítlačná skuba prívodného a odvodného potrubia, 9, 15 - pružinové západky, 10 - tesnenie radiátora, 11 - radiátor, 12 - kohútik, 13 - vrtuľa, 14 - elektromotor dúchadla, 16 - pružné lôžko elektromotora, 17 - príchytka klapky |
Pomalšie otáčanie kotvy elektromotora sa dosahuje zapnutím doplnkového odporu 3 do obvodu napájania elektromotora. Ak vznikne v elektromotore porucha, odporúčame ho zameniť za nový. Výnimkou je zoxidovanie povrchu kolektora, ktorý môžeme očistiť.
Ak sa kotva elektromotora netočí alebo ak sa točí pomaly, treba skontrolovať stav prepínača elektromotora dúchadla kúrenia. Prepínač vyberieme z jeho miesta tak, že ho podoberieme ostrým skrutkovačom, potom spojíme jeho vodiče nakrátko. Ak je prepínač chybný, zameníme ho za nový. Prepínač je vyobrazený na obr. 54.
|
|
Ak je prepínač v poriadku a elektromotor sa netočí, treba ho demontovať, rozobrať a zistiť príčinu poruchy. Najčastejšie možné príčiny poruchy sú:
Aby sme mohli vybrať elektromotor dúchadla kúrenia, musíme urobiť niekoľko pomocných úkonov:
Ak je treba očistiť zoxidovaný kolektor, odskrutkujeme pripevňovacie skrutky veka, veko stiahneme z hriadeľa, tak isto stiahneme zaisťovaciu podložku a vyberieme kotvu zo statora. Kolektor očistíme jemným pilníkom, prefúkneme stlačeným vzduchom a namažeme tenkou vrstvou technického tuku. Elektromotor i vykurovanie zložíme obráteným postupom.
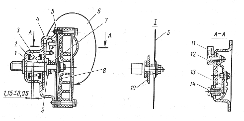
Húkačky sú nesmierne dôležité v zložitých a najmä kritických situáciách I napriek tomu, že za normálnych okolností v súčasnosti sa veľa nepoužívajú. V súvislosti s tým, že húkačky po dlhý čas nepoužívame, ani nespozorujeme, kedy a prečo prestali vydávať zvuk alebo ich zvuk zoslabol. Môžeme si predstaviť situáciu vodiča, keď v potrebnú chvíľu nemôže dať varovný signál. Prečo k tomuto dochádza? Prepálila sa poistka, nefunguje alebo sa zadrhol vypínač alebo sa pokazila húkačka.
Pri všetkých typoch automobilov Lada, okrem Lada 1300- VAZ 2105 je obvod húkačiek chránený poistkou č. 1 (16 A). Ak sa poistka prepálila, treba zistiť príčinu. Musíme skontrolovať niekoľko obvodov, pretože poistka č. 1 ochraňuje aj lampy osvetlenia vnútrajšku karosérie, zásuvku, zapaľovač, brzdové svetlá, signalizačné lampy otvorenia predných dverí a hodiny (dva posledné okruhy len pri typoch Lada 1 500 a 1600). Pri type Lada 1300-VAZ 2105 je to jednoduchšie. Poistka č. 7 (16 A) ochraňuje len obvod húkačiek.
Ak zistíme poruchu, musíme skontrolovať spoľahlivosť spojov vodičov, stav kontaktov vypínača. Ak je to potrebné, očistíme kontakty. Ak húkačky stratili bývalú silu a melodickosť svojho hlasu, treba ich nastaviť skrutkou 14 (obr. 55). Skrutku pootáčame na obidve strany, pokým sa zvuk nezlepší. Ak nemôžeme dosiahnuť nastavovaním bývalú silu a čistotu zvuku, treba húkačku demontovať, rozobrať a očistiť jej kontakty. Pri skladaní musíme vložiť medzi membránu 5 a teleso húkačky 1 dištančné tesnenie, ktoré tam bolo, aby sa nezmenila škára ( 1 ,15 ± 0,5) mm medzi jadrom elektromagnetu a kotvou 3.
|
|
Osvetlenie a signalizácia sú hlavné elementy aktívnej bezpečnosti automobilu. V nových alebo modernizovaných typoch automobilov sa spravidla zdokonaľujú osvetľovacie prístroje a prístroje svetelnej signalizácie. Do tejto skupiny patria: svetlomety, obrysové svetlá, zadné lampy, smerovky, svetlomet spätného chodu, osvetlenie poznávacej značky, signalizačné lampy otvorenia predných dverí, lampa osvetlenia batožinového priestoru, lampy osvetlenia vnútra karosérie, osvetlenie motorového priestoru, lampy osvetlenia prístrojov, kontrolné lampy, vypínače a prepínače osvetlenia a signalizácie, poistky. Význam všetkých početných prístrojov je, samozrejme, rozličný. Porucha niektorých z nich bezprostredne ovplyvňuje bezpečnosť jazdy, kým iné zabezpečujú len pohodlie a komfort. Všetky elektrické prístroje spolu však zabezpečujú spoľahlivú prevádzku automobilu v ktorýkoľvek denný alebo nočný čas.
Každý vodič by mal vedieť nájsť príčinu poruchy každého z prístrojov osvetlenia alebo signalizácie, aby sa neocitol v situácii, keď nevidí, kam ide alebo, čo je ešte horšie, aby i sám nebol neviditeľný pre ostatných účastníkov cestnej premávky. Povinnosťou vodiča je voziť so sebou kompletnú súpravu žiaroviek a poistiek a vedieť zameniť tie, ktoré prestali fungovať.
Hlavnou príčinou poruchy uvedených osvetľovacích a signalizačných prístrojov je strata vodivého spojenia medzi objímkou a žiarovkou alebo v konektoroch a svorkách. Stáva sa, že sa vodiče odtŕhajú, ale pre toto musia byť vytvorené zvláštne okolnosti, napr. dotyk vodičov s kovovými predmetmi, súčiastkami s ostrými hranami atd. Keďže tieto poruchy by mal poznať každý, zastavíme sa u nich podrobnejšie.
Výnimku tvorí prípad, ak sa do svetlometov dostáva voda. Parabola svetlometu predčasne starne, temnie a svetlo slabne. Takýto svetlomet alebo jeho parabolu zameníme za novú. Na automobiloch Lada 1200, 1200 Combi a 1300 sa to robí nasledovným postupom: skrutkovačom odskrutkujeme pripevňovaciu skrutku ozdobného rámika; rámik snímeme; uvolníme pripevňovacie skrutky rámika skla, rámik so sklom pootočíme proti chodu hodinových ručičiek a vyberieme ho spolu s parabolou. Na automobiloch Lada 1500, 1600 a Niva 1600 najprv vyskrutkujeme pripevňovacie skrutky vonkajšieho alebo ozdobného rámika, rámik vyberieme, uvolníme pripevňovacie skrutky rámika skla, potočíme proti chodu hodinových ručičiek a vyberieme ho, potom vyberieme parabolu. Pri montáži novej paraboly treba dať pozor, aby jej výstupky vošli do vybraní vnútorného rámika svetlometu.
Ak nevieme nájsť miesto trvalého skratu, môžeme si pomôcť jednoduchým prípravkom (obr. SSa), ktorý si vyrobíme z prepálenej poistky, žiarovky (12 V) a kúska dvojvodiča. Po pripájaní k žiarovke omotáme jej pätku izolačnou páskou, aby sme nespôsobili pri hľadaní skratu ďalší. Upravenú poistku vložíme do poistkovej skrinky namiesto prepálenej poistky a žiarovku umiestnime tak, aby sme na ňu videli. Ak pripojíme
|
|
Tento prípravok veľmi pomôže pri hľadaní skratu, ktorý je krátkotrvajúci, keď sa "živé" miesto s poškodenou izoláciou dotkne kostry len pri otrasoch nedostatočne pripevneného káblu alebo spotrebiča pri jazde po nerovnej vozovke, alebo pri pohybe niektorej mechanickej súčiastky (napr. p~ otváraní a zatváraní dverí, pohybe páky parkovacej brzdy, vytiahnutí ovládania vzduchovej klapky karburátora a pod.). V tomto prípade zasa prehmatáme príslušný obvod, pokýveme všetkými voľnými miestami káblov a ich zväzkov a pohneme všetkými mechanickými súčiastkami, ktoré sa nachádzajú v ich blízkosti. V tomto prípade nám odhalí podozrivé miesto aasvietenie žiarovky. Podozrivé miesto dôkladne prezrieme, poškodený vodič zaizolujeme alebo vymeníme a nezabudneme odstrániť príčinu poškodenia izolácie, aby sa skrat neopakoval.
Nesvietia lampy osvetlenia prístrojov. Toto je obyčajne zapríčinené chybným vypínačom osvetlenia alebo prepálením žiaroviek. Aby sme mohli skontrolovať vypínač, treba ho vybrať z jeho uloženia v prístrojovej doske a pri zapnutých obrysových svetlách spojíme nakrátko svorky vypínača. Ak sa rozsvietia osvetľovacie žiarovky, diagnóza potvrdená a chybný vypínač treba zameniť za nový. Ak sa vypálila žiarovka, treba ju zameniť po vybratí združeného prístroja. Ako sa to robí na automobiloch Lada 1200, 1300 a Lada 1300-VAZ 2105 už poznáme.
|
|